福特公布“模拟手动挡”专利:让电动汽车重拾驾驶乐趣
2025-04-02 17:08:09 小编:锤子手游网
本站 4 月 2 日消息,对于汽车发烧友来说,大多数纯电动车都缺乏手动挡燃油车拉高转速时带来的激情,而车企也意识到了这一点,开始尝试新的方案。据外媒 Carscoops 今日报道,在丰田、现代之后,福特也加入了“手动挡纯电”实验的行列。

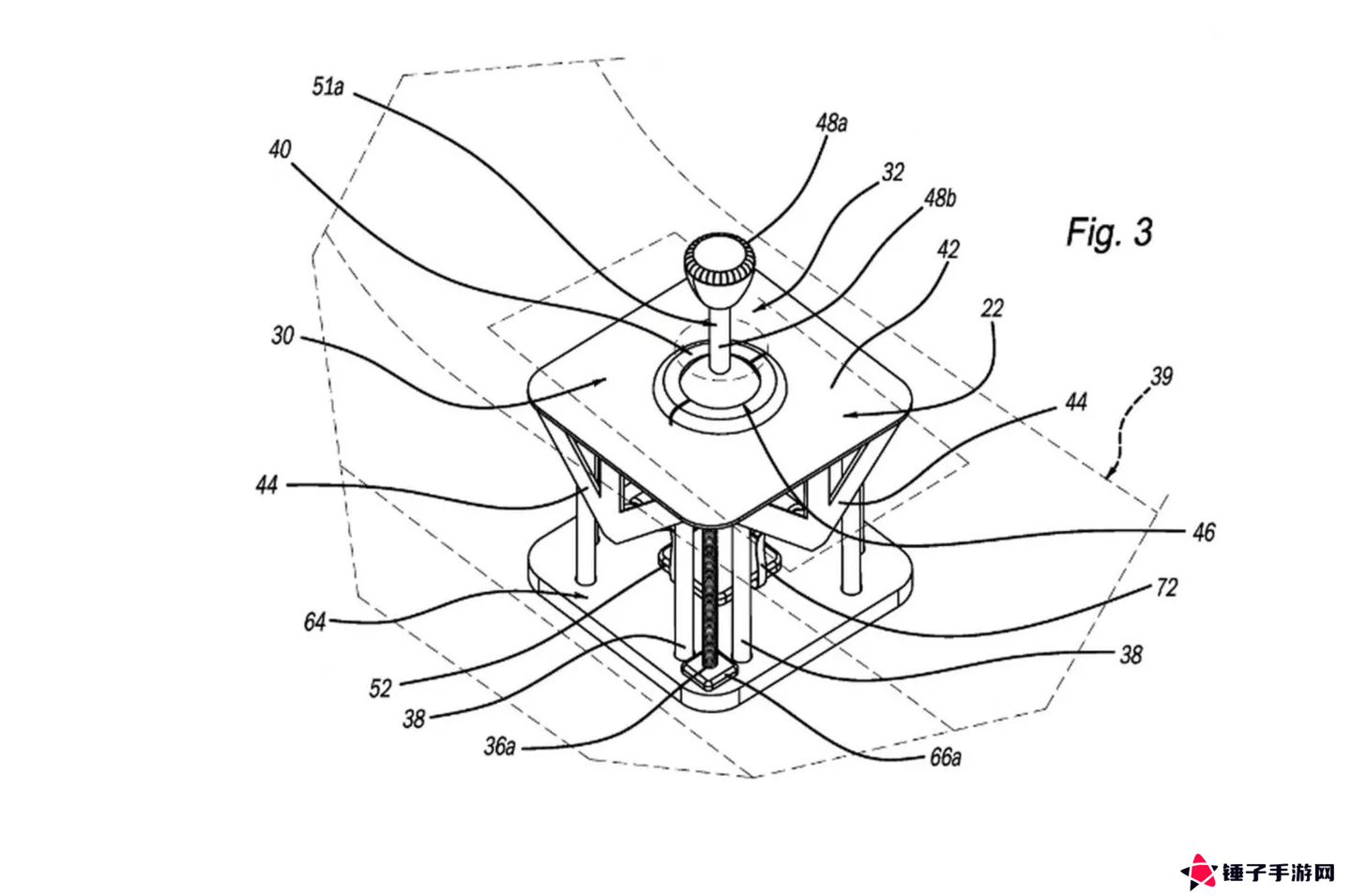
福特近期公布的专利显示,该系统通过执行器、垂直驱动杆、垂直导向杆和电机来模拟换挡结构。听起来复杂,实际上它可以根据设定模拟不同形式的手动变速箱,甚至支持简单的顺序式换挡。
福特指出,这项技术不仅仅是噱头,还能通过触觉反馈增强驾驶体验。专利文件还提到,纯电动车缺乏燃油车那种人与车之间的物理互动,而这种互动对驾驶感受至关重要。

不过,虽然福特早在 18 个月前就提交了这项专利,但它是否会真正量产仍是未知数。报道称,若福特未来推出真正的纯电 Mustang 跑车(本站注:此处指的不是“电马”Mach-E)或一款高性能电动小钢炮,这项技术或许会派上用场。但在那之前,它可能还只是个停留在专利文件里的创意。
- 猜你喜欢
-
QMD音乐9.9MB手游下载 -
影视工厂tv版9.9MB手游下载 -
全民音乐app最新版9.9MB手游下载 -
蜜芽直播最新版9.9MB手游下载 -
蜜糖app最新版9.9MB手游下载 -
桃子视频app免费版9.9MB手游下载 -
魅影app下载免费版9.9MB手游下载 -
追剧影院9.9MB手游下载 -
韩剧网韩剧tv9.9MB手游下载
- 相关手机游戏
-
壳儿影视9.9MB手游下载 -
心跳直播视频免费版9.9MB手游下载 -
jrkan直播9.9MB手游下载 -
茶杯狐cupfox最新版9.9MB手游下载 -
宝盒9.9MB手游下载 -
狮子影评9.9MB手游下载 -
onlyyou短视频软件下载世界杯9.9MB手游下载 -
羞羞视频永久免费9.9MB手游下载 -
乐园交友安卓版9.9MB手游下载
- 推荐实时资讯
- 黑人与中国女RAPPER的独特魅力与未来发展:两种文化在嘻哈音乐中的碰撞
- 《放开那三国》策略游戏攻略:如何快速提升战斗力并合理利用资源?
- 香蕉文化免费登录入口官网:如何通过简单的步骤轻松访问和使用这个新兴平台?
- 17c视频受欢迎的原因是什么?如何提升视频内容的互动性和观众参与度?
- 《一家乱战王芳小说全文阅读:家庭纷争背后的深刻反思与成长》
- “嗯~啊~轻一点”是什么含义?如何通过这种话语改善人际关系和缓解压力:了解这一心理现象背后的情感需求
- 如何理解欧美BV的崛起及其全球文化影响力?如何解读BV在全球市场中的竞争优势?
- 《疯狂后爸继女孙小茹》:父女关系中的心理博弈,继父的复杂情感如何影响继女成长?
- 如何在线观看《圣女的污染1~6》?揭秘这部神秘作品背后的深层意义
- 伊春园2023入口改造,如何让游客轻松直达大象区域?
- 最新手机精选
-
世界征服者4荣光mod2025-03-17手游下载 | 127.46MB -
希望之村你是希望2025-03-18手游下载 | 130.24MB -
内鬼v6官方版2025-03-30手游下载 | 9.9MB -
代号家族崛起游戏2025-02-27手游下载 | 9.9MB -
可可影视2025年最新版2025-03-27手游下载 | 9.9MB -
抖音极速版下载安装免费版2025-03-08手游下载 | 9.9MB






































